پیچ شیروانی Ridge screw نوعی پیچ خودکار می باشد که برای اتصال ورق های شیروانی و آب چکان مورد استفاده قرار می گیرد. پیچ شیروانی اغلب از نوع نوک مته ای تولید شده و در سایز های مختلف میلیمتری اغلب سایز های M4 , M5, M6 مورد استفاده قرار می گیرد. تلرانس ابعادی پیچ های شیروانی اغلب بالا بوده سایز 4 میلیمتر آنها اغلب سایز واقعی 4.2 میلیمتر را داراست. پیچ شیروانی سایز M4.2 در طول های 19 میلیمتر و 25 میلیمتر، پبچ شیروانی سایز M4.8 میلیمتر در طول های 19 الی 76 میلیمتر، پیچ شیروانی سایز M5.5 در طول 25 الی 76 میلیمتر و در نهایت پیچ شیروانی سایز M6.3 در طول های 25 الی 127 میلیمتر مورد استفاده قرار می گیرد.
پیچ شیروانی بدون نیاز به سوراخ کاری اولیه ورق ها با قابلیت Self drilling و بصورت خودکار تولید شده و دارای دنده های درشت Coarse thread و برنده می باشد که طول گام بالایی داشته و سرعت اتصال را افزایش می دهند. نوع گل پیچ شیروانی اغلب شش گوش با کفی تخت بوده که بصورت کامل بر روی ورق های گالوانیزه شیروانی می نشیند. در اغلب موارد در اتصال پیچ شیروانی از یک واشر تخت لاستیکی استفاده می شود. بکارگیری این واشر لاستیکی اولا تنش اتصال پیچ شیروانی را افزایش می دهد و ثانیا نقش آب بند را در بستن درز میان پیچ شیروانی و ورق ها ایفا کرده از نشتی آب باران جلوگیری به عمل می آورد.
پیچ شیروانی در دسته پیچ های صنعتی با کاربری استاتیک قرار می گیرد بدین معنا که اتصال آن بدون ارتعاش با تنش کششی متوسط می باشد. پیچ شیروانی هم در گرید های فولادی کم کربن آهنی هم در گرید های فولادی خشکه و هم در گرید های استنلس استیل تولید می شود. استاندارد بکار رفته در تولید پیچ شیروانی استاندارد DIN7504 در دستگاه استاندارد کشور آلمان می باشد که بصورت مشترک برای پیچ های شیروانی فولادی و استیل بکار می رود. پر کاربرد ترین گرید های پیچ شیروانی به قرار زیر هستند.
انتخاب میان پیچ شیروانی آهنی و فولادی بر حسب تنش اتصال و انتخاب میان پیچ شیروانی فولادی و استیل بر حسب درصد رطوبت هوا و البته بودجه صورت می پذیرد. در سایز های کوچکتر که وزن پیچ شیروانی کمتر است استفاده از پیچ های استنلس استیل پیشنهاد می شود که طول عمر بسیار بالاتری در برابر زنگ زدگی دارند. در سایز های بالاتر با توجه به افزایش قابل توجه قیمت پیچ شیروانی استنلس استیل انتخاب با توجه به بودجه و درصد رطوبت هوا صورت می پذیرد. در انتهای این مقاله به روش های افزایش قابلیت مقاومت پیچ شیروانی فولادی در برابر زنگ زدگی می پردازیم.
پیچ های شیروانی هم بر مبنای تعداد و هم بر مبنای وزن خرید و فروش می شوند. اغلب در سایز های بسیار پایین وزن معیار خرید پیچ شیروانی و در سایز های بالاتر خرید بر حسب تعداد صورت می پذیرد. وزن پیچ شیروانی در سایز برابر و در گرید های استنلس استیل بالاتر از گرید های فولادی می باشد چرا که چگالی استنلس استیل اندکی بالاتر از چگالی فولاد می باشد. وزن مخصوص Specific gravity یا وزن واحد حجم پیچ شیروانی استنلس استیل در گرید نگیر 316 حدود 8 گرم بر سانتی متر مکعب می باشد حال آنکه وزن مخصوص پیچ شیروانی فولادی اندکی کمتر و برابر 7.85 گرم بر میلیمتر مربع است. جدول زیر وزن پیچ شیروانی فولادی را نشان می دهد.
| سایز پیچ شیروانی | وزن هر 1000 عدد kg | سایز پیچ شیروانی | وزن هر 1000 عدد kg | سایز پیچ شیروانی | وزن هر 1000 عدد kg |
|---|---|---|---|---|---|
| 4.2X25 | 2.20 | 5.5X19 | 3.90 | 6.3X19 | 5.91 |
| 4.2X32 | 2.91 | 5.5X25 | 4.45 | 6.3X25 | 6.87 |
| 4.2X38 | 3.31 | 5.5X32 | 5.00 | 6.3X32 | 7.99 |
| 4.8X13 | 2.02 | 5.5X38 | 7.10 | 6.5X38 | 8.96 |
| 4.8X16 | 2.32 | 5.5X45 | 7.93 | 6.5X45 | 10.10 |
| 4.8X19 | 2.61 | 5.5X50 | 8.77 | 6.5X50 | 10.88 |
| 4.8X25 | 3.19 | 5.5X65 | 9.20 | 6.5X65 | 13.20 |
| 4.8X32 | 3.88 | 5.5X75 | 10.39 | 6.5X75 | 14.89 |
| 4.8X38 | 4.46 | ||||
| 4.8X45 | 5.16 | ||||
| 4.8X50 | 6.66 |
جدول وزنی پیچ شیروانی بیشتر مورد استفاده تولید کنندگان و فروشندگان این نوع پیچ صنعتی می باشد که دستری به میزان و وزن متریال بکار گرفته شده در تولید آن را داشته باشند. با توجه به اینکه پیچ شیروانی نسبت به پیچ و مهره های صنعتی مانند پیچ شش گوش، پیچ متری و استاد بولت وزن بسیار پایینی دارد در جدول وزن برای هر 1000 عدد پیچ شیروانی و بر واحد کیلوگرم مشخص شده است. بدیهی است که در صورت چاکدار بودن گل پیچ و یا وجود و عدم وجود فلنج واشر در پای گل پیچ شیروانی وزن و به دنبال آن قیمت نیز تغییر خواهد نمود.
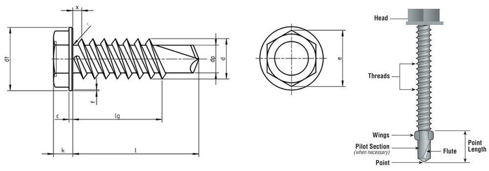
پیچ های شیروانی در گذشته بصورت نوک تیز مورد استفاده قرار می گرفتند. با پیشرفت تکنولوژی و بکارگیری دستگاه های الکتریکی در اتصال پیچ به تدریج پیچ های نوک مته ای که قابلیت سوراخ کاری سطحی را داشتند وارد بازار شدند. اما بخش مته ای شکل پیچ شیروانی خود دارای 4 بخش اصلی می باشد. در منتهی علیه پایینی نوک مته ای شکل پیچ شیروانی Point قرار گرفته که در واقع یک شکل مخروطی با نوک تیز برای نشاندن پیچ شیروانی بر روی سطح دارد. در اماده بخش استوانه ای نوک مته Pilot section قرار گرفته است که بر روی این بخش استوانه ای یک چاک تحت نام Flute واقع شده است که در واقع نقش براده برداری در سوراخ کاری سطحی با پیچ شیروانی نوک مته ای را ایفا می کند. در بالاترین نقطه از بخش استوانه ای شکل نوک مته ای پیچ شیروانی دو لبه یا پر به نام Wings قرار گرفته اند که به گسترش قطر سوراخ و جدا سازی کامل براده ها از سطح در اتصال پیچ شیروانی می پردازند. نمونه ای از اجزای پیش یروانی در شکل بالا زیر شده است.

قسمت استوانه ای نوک مته ای پیچ شیروانی فاقد رزوه یا دنده می باشد و پس از اتمام بخش استوانه ای به جان پیچ شیروانی اتصال پیدا می کند که دارای دنده می باشد. در انتهای جان پیچ شیروانی و در پای گل شش گوش اغلب از یک واشر تخت بصورت پیوسته استفاده شده که به فلنج پیچ شیروانی نیز شناخته می شود. گل شش گوش پیچ شیروانی در قسمت سطح بالایی دارای یک شیار عمیق و گاهی دو شیار برای اتصال با پیچ چهارسو با عمق شیار بیشتر در یک سطح که قابلیت اتصال با آچار پیچ گوشتی دوسو را نیز فراهم می کند تولید شده است.
استاندارد DIN7504 بصورت کلی یک استاندارد برای تولید رینج گسترده ای از پیچ های نوک مته ای هم بصورت خزینه ای و هم بصورت شش گوی می باشد که تنها سری K آن برای تولید پیچ های شیروانی نوک مته ای بکار گرفته می شود. از دیگر زیر مجموعه های استاندارد DIN7504 در تولید پیچ می توان به DIN7504-N که در تولید پیچ نوک مته ای سر عدسی بکار می رود، DIN7504-0 که در تولید پیچ نوک مته ای خزینه ای سر تخت بکار می رود و DIN7504-PSQ که در تولید پیچ آلن از نوع سر تخت نوک مته ای بکار می رود اشاره نمود. استاندارد DIN7504-K یا سری K در تولید پیچ شیروانی نوک مته ای از نوع شش گوش یک استاندارد متریک با ابعاد میلیمتری می باشد که به تبیین سایز های بخش مختلف پیچ شیروانی از جمله گل پیچ، قسمت مته ای شکل، جان پیچ و طول گام دنده های پیچ شیروانی می پردازد. این استاندارد DIN با استاندارد های معادل دیگری در دستگاه های دیگر از جمله UNI 8117 K و ISO 15480 نیز معرفی شده است.
| جدول ابعادی پیچ شیروانی ISO 15480 | ||||||||
|---|---|---|---|---|---|---|---|---|
| سایز پیچ شیروانی d | ST3,5 | ST3,9 | ST4,2 | ST4,8 | ST5,5 | ST6,3 | ||
| c | حداقل | 0,6 | 0,6 | 0,9 | 0,9 | 1 | 1 | |
| dc | حداکثر | 8,3 | 8,3 | 8,8 | 10,5 | 11 | 13,2 | |
| حداقل | 7,6 | 7,6 | 8,2 | 9,8 | 10 | 12,2 | ||
| f | approx. | 0,4 | 0,4 | 0,4 | 0,5 | 0,5 | 0,5 | |
| e | حداقل | 5,96 | 5,96 | 7,59 | 8,71 | 8,71 | 10,95 | |
| k | حداکثر | 3,45 | 3,45 | 4,25 | 4,45 | 5,45 | 6,45 | |
| حداقل | 3,2 | 3,2 | 4 | 4,15 | 5,15 | 6,15 | ||
| k´ | حداقل | 1,55 | 1,55 | 1,9 | 2 | 2,7 | 3,3 | |
| r | حداکثر | 0,5 | 0,5 | 0,6 | 0,7 | 0,8 | 0,9 | |
| s | nominal=حداکثر | 5,5 | 5,5 | 7 | 8 | 8 | 10 | |
| حداقل | 5,32 | 5,32 | 6,78 | 7,78 | 7,78 | 9,78 | ||
| t | حداقل | 1 | 1 | 1,2 | 1,4 | 1,6 | 1,8 | |
| حداکثر | 1,4 | 1,4 | 1,6 | 1,8 | 2 | 2,2 | ||
| محدوده نوک کته ای | از سایز | 0,7 | 0,7 | 1,75 | 1,75 | 1,75 | 2 | |
| to | 2,25 | 2,4 | 3 | 4,4 | 5,25 | 6 | ||
| dp | حداکثر | 2,8 | 3,1 | 3,6 | 4,1 | 4,8 | 5,8 | |
| l | lg | |||||||
| مقدار اسمی | حداقل | حداکثر | حداقل | |||||
| 9,5 | 8,75 | 10,25 | 2,85 | |||||
| 13 | 12,1 | 13,9 | 6,2 | 5,8 | 4,3 | 4,7 | ||
| 16 | 15,1 | 16,9 | 9,2 | 8,8 | 7,3 | 5,8 | 5 | |
| 19 | 18 | 20 | 12,1 | 11,7 | 10,3 | 8,7 | 8 | 7 |
| 22 | 21 | 23 | 15,1 | 14,7 | 13,3 | 11,7 | 11 | 10 |
| 25 | 24 | 26 | 18,1 | 17,7 | 16,3 | 14,7 | 14 | 13 |
| 32 | 30,75 | 33,25 | 24,5 | 23 | 21,5 | 21 | 20 | |
| 38 | 36,75 | 39,25 | 30,5 | 29 | 27,5 | 27 | 26 | |
| 45 | 43,75 | 46,25 | 34,5 | 34 | 33 | |||
| 50 | 48,75 | 51,25 | 39,5 | 39 | 38 | |||
جدول بالا برای تبیین سایز های استاندارد پیچ شیروانی از نوع شش گوش نوک مته ای طبق استاندارد DIN7504-K بکار گرفته شده است. در این جدول حرف d معرف سایز اسمی پیچ شیروانی و برابر با قطر بیرونی دنده های، dp قطر نوک مته ای شکل پیچ، L طول جان پیچ شیروانی و lg طول بخش رزوه شده، c ارتفاع گل شش گوش پیچ شیروانی و k ارتفاع گل به همراه بخش واشری شکل پیچ شیروانی است. عرض قسمت شش گوش گل پیچ شیروانی در جدول با dt مشخص شده که با سایز آچار بکس در اتصال پیچ برابری می کند. البته اتصال پیچ شیروانی با داشتن یک شیار بر روی سطح گل شش گوش پیچ می تواند با بکارگیری آچار دو سو نیز صورت پذیرد. در واقع در اغلب موارد با بکارگیری آچار های الکتریکی و بصورت دو سو به اتصال پیچ شیروانی می پردازند.
به جز پیچ شیروانی استنلس استیل که چه در گرید 304 یا A2 تولید شده باشد چه در گرید 316 یا A4 دیگر انواع پیچ شیروانی نیاز به مقاوم سازی سطحی دارند. در واقع پیچ های استیل با بکارگیری درصد بالایی از کروم بالای 16% و نیکل بالای 8% که در گرید 316 با 2% مولیبدنیوم نیز تثبیت شده است یک مقاومت ذاتی در برابر زنگ زدگی دارند. این در حالی است که پیچ های شیروانی فولادی بالای 97% عنصر فلزی آهن با 3 الکترون ناپایدار در آخرین لایه داشته و بدون محافظت سطحی به سرعت الکترون از دست داده ، اکسید شده یا زنگ می زنند. زنگ زدگی پیچ شیروانی فولادی به سرعت در عمق نفوذ کرده و سبب کاهش استحکام کششی آن می شود. از این رو مانند دیگر انواع پیچ و مهره فولادی پیچ های شیروانی نیز نیاز به مقاوم سازی سطحی دارند.
عمومی ترین و مطرح ترین روش در مقاوم سازی پیچ شیروانی فولادی چه در نوع کم کربن آهنی و چه در نوع خشکه آبکاری گالوانیزه می باشد. پیچ شیروانی اغلب به روش گالوانیزه سرد در دمای حدود 240 درجه با زینک در ضخامت حدود 18 میکرومتر پوشانیده می شود. این پوشش سطحی یک لایه با مقاومت متوسط با قابلیت جلوگیری از تماس مستقیم آب باران با سطح پیچ شیروانی را پدید می آورد. بدیهی است از آنجایی که آبکاری گالوانیزه سرد بر خلاف گالوانیزه گرم ضخامت زینک بین 36 الی 100 میکرومتر یک آبکاری بسیار سطحی است ایجاد خراش سطحی آستانه زنگ زدگی را به دنبال دارد.